网站运营 发布日期:2025/11/10 浏览次数:1
阿里云ECS服务器重装系统选择OS
一般而言,如果我们在开始开设ECS服务器之后选择OS系统之后,配置WEB环境我们后面除非出现各种不稳定的安全问题,或者架设的WEB服务器环境版本需要升级,很少需要重新安装系统的。如果我们需要重新安装ECS服务器系统怎么操作呢?
1、关闭当前系统
我们需要先停止当前的服务器,要不无法选择安装新系统。
2、选择需要重置的系统安装
我们找到更换系统盘的链接,然后选择需要的镜像、设置ROOT密码。
设置完毕之后我们点击按钮确定就可以,等待自动安装新系统。安装完毕之后就可以通过SSH登入账户重新安装配置系统环境。如果我们服务器中有重要数据,要记得备份数据、快照备份等操作,因为重置系统后数据会全部丢失。
阿里云ECS服务器快照备份与回滚恢复数据
我们大部分用户都是从虚拟主机过度到使用VPS、云主机上来的,肯定深知网站数据的重要性,在使用虚拟主机的时候我们可能会依赖主机商的定期备份,基本上靠谱的服务商都是会帮助我们备份的,即便我们使用到云主机时代,理论上服务商也会有帮助备份,但是真丢失后需要找回或者还原数据还是比较困难,毕竟不是针对我们某个VPS的备份,大部分时候我们需要自己备份网站或者服务器快照备份。
与很多服务商一样,阿里云ECS拥有快速的快照备份,目前快照备份是免费的,老左有看到目前每天还会帮助我们自动快照备份一次。所谓快照备份就是包括我们的环境与数据一起备份,如果服务器操作失误或者网站数据需要恢复,直接可以将所有系统全部还原的功能。
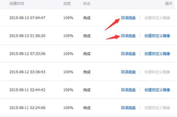
1、设置自定快照备份策略
理论上每天会自动帮助我们备份一次,但是如果遇到特殊的变动,我们还是自己手工备份。
我们需要先停止当前的服务器,要不无法选择安装新系统。
2、选择需要重置的系统安装
我们可以根据快照备份的标签,然后选择回滚磁盘,在整个回滚过程中,我们都要暂停当前运行,然后再点击回滚磁盘,如果我们有数据盘的可以分别选择数据盘还是系统盘。
PS:如果我们是网站项目的话,虽然快照备份很好,但是他是连带环境一起备份的,数据的单独迁移不好把控,所以我们自己也需要定期进行单独网站文件和数据库的备份本地。