摇杆漂移有望在NS2得到解决 疑似霍尔摇杆专利公开

动漫资讯 发布日期:2025/12/27 浏览次数:1

正在浏览:摇杆漂移有望在NS2得到解决 疑似霍尔摇杆专利公开

据dexerto消息,近日任天堂在美国申请得一系列专利被公开,其中一项有关控制器摇杆的专利,疑似暗示在未来Switch继任机型上会有效缓解玩家们一直诟病的手柄漂移问题。

摇杆漂移有望在NS2得到解决 疑似霍尔摇杆专利公开

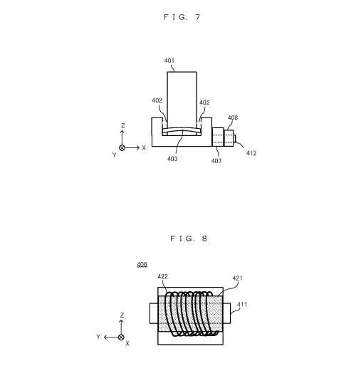
其最新的专利中介绍了一种新的摇杆,其原理与霍尔效应摇杆十分类似,通过感应摇杆周围磁场的变化并将其转换为电压信号,从而实现对设备的控制。

摇杆漂移有望在NS2得到解决 疑似霍尔摇杆专利公开

当前Switch主机摇杆原理是物理电触点通过电路板发送信号。

专利信息:

摇杆漂移有望在NS2得到解决 疑似霍尔摇杆专利公开

摇杆漂移有望在NS2得到解决 疑似霍尔摇杆专利公开

摇杆漂移有望在NS2得到解决 疑似霍尔摇杆专利公开

摇杆漂移有望在NS2得到解决 疑似霍尔摇杆专利公开

摇杆漂移有望在NS2得到解决 疑似霍尔摇杆专利公开

摇杆漂移有望在NS2得到解决 疑似霍尔摇杆专利公开

本文由游民星空制作发布,未经允许禁止转载。